SD8107

Operating Voltage

2.4~3.6V

2.4~3.6V

Operating Current

850μA

850μA

ADC ENOB

18.3bits@8sps
Gain = 100

18.3bits@8sps
Gain = 100

Peripherals

--

--

Package

SOP16

SOP16
IC Introduction

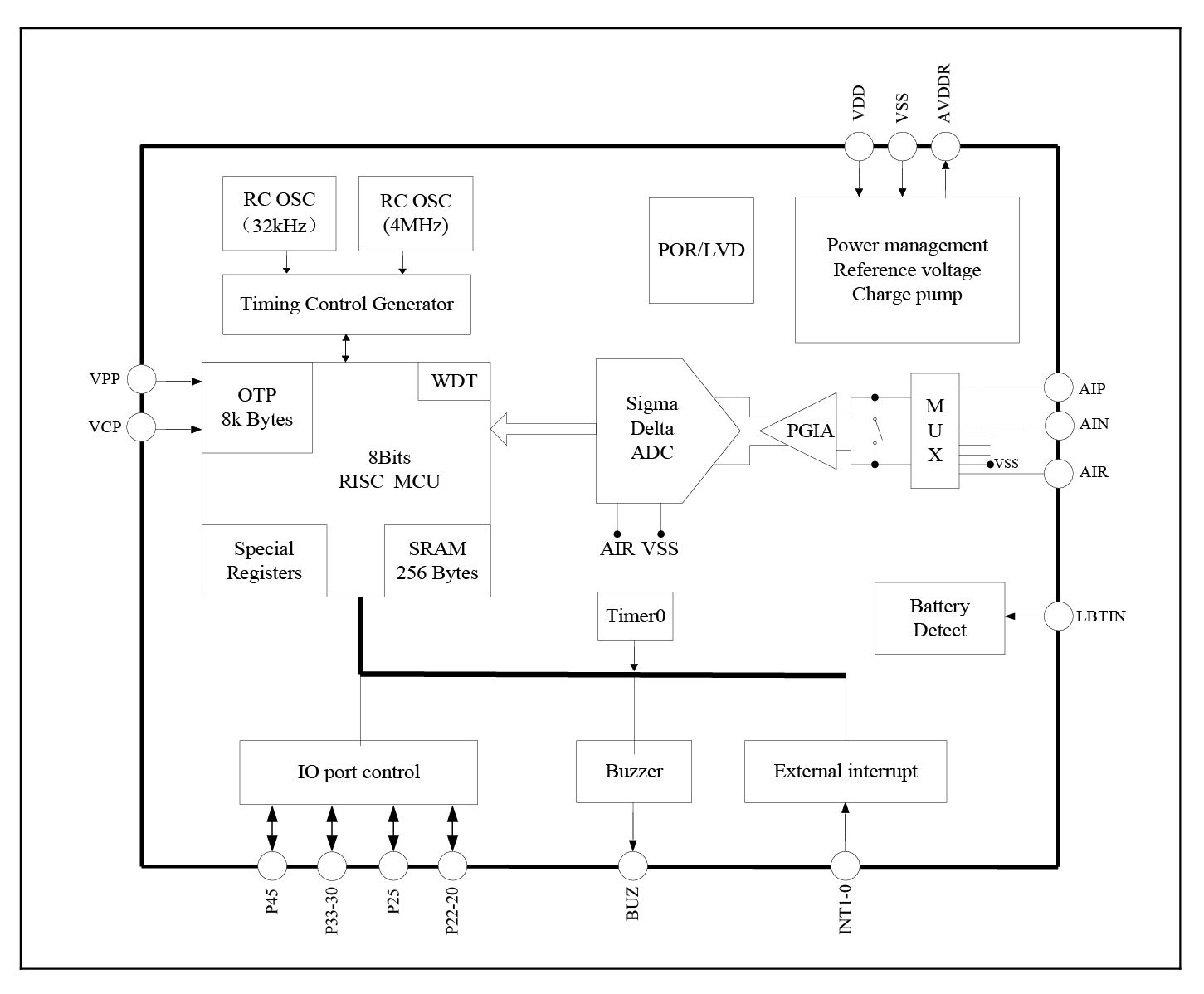
        The SD8107 is a CMOS SoC with built-in 20 bits ADC and 8k Bytes OTP memory. The built-in OTP has low programming voltage at 2.4V ~ 3.6V. It can be used in place of external EEPROM. The IC is specially designed for body weight or other domestic weight scale with LED display.

        The IC was designed with ultra low power technology. Operates at 3V supply and halved internal RC oscillator frequency, the total typical operating current is 850uA (external transducer driving current not included). Such low current consumption is very suitable for battery powered applications.
        Three working modes are provided so users can select the optimum choice between speed and power. They are normal mode, standby mode, and sleep mode.

IC Features
  • High precision ADC, ENOB=17.2bits@8sps, 1 differential or 3 single-ended inputs

  • Low noise, high input impedance preamplifier with selectable gain: 1, 12.5, 50, 100, or 200

  • 8 bits RISC ultra low power MCU, 49 instructions and 6 stack levels. The MCU current consumption is 500uA typically at 3V and 2MHz operating clock rate, 1μA at standby and 32kHz clock, and less than 1μA at sleep

  • 8k Bytes OTP, 256 Bytes SRAM

  • Low OTP programming voltage at 2.4~3.6V, can replace external EEPROM

  • Internal RC oscillator, no external clock needed

  • 8 bits interrupt timer

  • Built-in temperature sensor, supports single point calibration

  • Selectable voltage source for external transducer excitation: 2.4V/2.6V/2.9V/3.3V

  • Flexible battery voltage detection: 2.4~3.0V

  • Schmitt trigger input, pull up resistor selectable

  • Watch Dog Timer

  • Low voltage detection and power on reset circuit

  • Operating voltage range: 2.4~3.6V

  • Operating temperature range: -40~85℃

IC Block Diagram
Application area

Portable Scale

Tire Pressure Scale

Related Products Recommendation

Product Series

Sample Requests
and Purchase

Product
Directory

Please fill in a real and valid email address!